分包拖欠工资38万余元 中国京冶被沧州人社局罚款 1.5万元
来源:东方资讯河北频道


图片来源:沧州市人力资源和社会保障局
近日,沧州市人力资源和社会保障局公布一则行政处罚信息。中国京冶工程技术有限公司作为施工总承包单位,因分包单位拖欠38.8万元农民工工资,在人社部门责令限期清偿后未履行先行清偿义务,被依法处以1.5万元罚款。

图片来源:沧州市人力资源和社会保障局
处罚决定书显示,中国京冶将沧州天成玉玺台二期项目部分工程分包给四川博大政通建设工程有限公司,该分包单位拖欠农民工工资共计388007元。2026年2月,沧州市人社局向中国京冶下达行政处理决定书,要求其依法履行工资先行清偿责任,该公司逾期未予改正。
依据《劳动保障监察条例》相关规定,沧州市人社局于2026年3月25日作出处罚决定,对中国京冶处以15000元罚款。


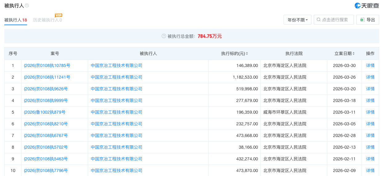
图片来源:天眼查
公开信息显示,中国京冶为国有控股大型建筑企业,隶属于中国五矿集团。截至目前,该公司自身存在18条被执行信息,被执行总金额达784.75万元。涉事分包单位四川博大政通建设工程有限公司,已被列入失信被执行人名单,涉案金额超百万元。
不少网友表示,总承包单位应承担起工资支付监管责任,拖欠农民工工资问题应得到及时解决,切实维护劳动者合法权益。
来源:沧州市人力资源和社会保障局、天眼查
联系方式:hbpd@eastdaymail.com.cn




黑公网安备 23010302001359号